Os diagramas de força cortante e momento fletor são ferramentas analíticas usadas em conjunção com a análise estrutural determinando os valores de força cisalhante e momento fletor em um determinado ponto de um elemento estrutural como uma viga. Utilizando estes diagramas pode ser facilmente determinado o tipo e tamanho e material de um.. Para o nosso exemplo 1, podemos tração o diagrama de esforço cortante da seguinte forma: No lado esquerdo (início), o gráfico segue na mesma direção da força RA (para cima) e com a mesma intensidade (1,7333), como a carga é localizada, o esforço cortante permanece constante até que encontre a próxima carga. Ao meio do gráfico, há.

Aula 19 Exercício Extra Unidade V Diagrama de Força Cortante e Momento Fletor Método

Resmat Diagrama Força Cortante e Momento Fletor Aula 01 YouTube

Como construir diagramas de força cortante e momento fletor AULA 2 YouTube

Diagrama de Momento Flector y Fuerza Cortante parte (1/2) 2020 YouTube

Como Fazer Diagrama de Força Cortante e Momento Fletor Ex 01

Aula 18 Exemplo 5.1 Unidade V Diagrama de Força Cortante e Momento Fletor Resist. dos

Diagrama de fuerza cortante y momento flector 4 YouTube

COMO FAZER DIAGRAMA DE MOMENTO FLETOR, FORÇA CORTANTE E NORMAL PELO MÉTODO DAS ÁREAS I

DIAGRAMA DE FORÇA CORTANTE E MOMENTO FLETOR

DIAGRAMA DE ESFORÇOS NORMAL, CORTANTES E MOMENTO FLETOR EXERCÍCIOS RESOLVIDOS ( PASSO A PASSO

Aula 08 Diagrama de Momento Fletor e Força Cortante YouTube

Equação Diagrama Esforço Cortante e momento Fletor (4) Carregamento Triangular YouTube

Diagramas de Fuerza Cortante y Momento Flector YouTube

Diagrama Esforço Cortante e momento Fletor (7) PT1 Mecânica dos Sólidos. YouTube

Diagramas de Momento Fletor, Cortante e Força Axial YouTube

Diagrama de esforço cortante + diagrama de momento fletor (2º exercício resolvido) YouTube

DIAGRAMA DE ESFORÇO NORMAL, CORTANTE E MOMENTO FLETOR YouTube

Diagrama De Força Cortante E Momento Fletor

Diagrama De Momento Flector Y Fuerza Cortante Paso a Paso(2/3) YouTube

Exercício 05 Diagramas de força cortante (V) e momento fletor (M) para viga bi apoiada YouTube
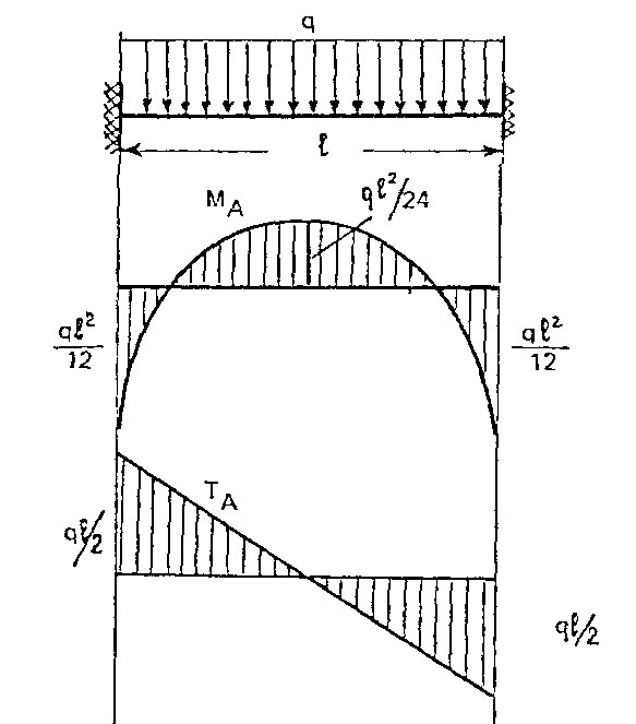
Pontos de Singularidade • Em termos práticos, são pontos nos quais os diagramas de estado de momento fletor, esforço cortante ou de qualquer outro esforço interno em um modelo estrutural não se apresentam como funções diferenciáveis. • Neste caso, o esforço interno precisa ser representado por funções por partes, o que implica na divisão do diagrama em. Questão 5. Desenhe os diagramas de cortante e momento para a viga submetida a um momento em sua extremidade. Qual é o valor do momento em uma seção à direita de ? Ver solução completa. Estude Exercícios de Diagramas de esforços e momento fletor Resolvidos passo a passo mais rápido. Guia com resumos, provas antigas, focados na prova da.